Электронный сторож своими руками
Электронный сторож СССР | Festima.Ru - Монитори...
ЭЛЕКТРОННЫЙ СТОРОЖ | Наука и жизнь
Электронный сторож | Festima.Ru – частные объяв...
Презентация творческого проекта по технологии Э...
Электронный сторож эс - 1 купить в Кинешме | То...
Кодовое сигнальное устройство КСУ-1 (Электронны...
Электронный сторож
Электронный сторож для квартиры симулятор лая с...
Электронный сторож водителя – Наука
Простой электронный сторож | Electronics, Elect...
Что нужно знать о скутерах - Электронный сторож...
Электронный сторож Сигнал. СССР. Новый Москва |...
Презентация на тему: "Электронный сторож кейса ...
EW-01 Zamel Электронный школьный сторож 230V AC...
Сторожевые устройства
Электронный сторож для приусадебного участка (С...
ЭЛЕКТРОННЫЙ СТОРОЖ АВТОМОБИЛЯ
Электронный сторож. Простая электроника 48 - Yo...
Электронный сторож "Аргус" | Festima.Ru – частн...
Электронный сторож - Схемы - Radioland
How To Make Security Alarm System - Электронный...
Электронный сторож, самодельная сигнализация дл...
Электронный конструктор "Малая автоматика" | Ra...
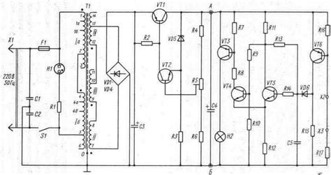
Рис. 1. Принципиальная схема сторожевого устрой...
Электронный сторож | Электрик в доме
Радиосхемы. - Электронный сторож