UL1001-001 | TECTURE(テクチャー)
Frontiers | UL11 Protein Is a Key Participant o...
Life history traits of uL11 mutants. A-Lethalit...
L111 | Ulstein
UL20811,UL VW-1,난연케이블,KDC : 네이버 블로그
UL1N1/4
UL4411 – WCH Cable Industrial Co., Ltd.
UL1111-001 | TECTURE(テクチャー)
SimplePlanes | UL-1 Sparrow Ultralight
UL21101 – UL Cable
ul1201 (10) » Szukaj | elecena.pl - wyszukiwark...
Teflon Wire UL1333 by (주)테크리더월드 - 코머신...
Conserved Outer Tegument Component UL11 from He...
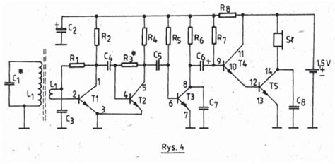
UL1111 – Frequency Central
UL1611_3201495.PDF Datasheet Download --- IC-ON...
UL1333 – FEP Cable & Wire
UL21411 – UL Cable
UL1110 - 產品介紹 | 台灣建和股份有限公司
Frontiers | Features and Functions of the Conse...
UL 110 - Trio Safety
Cells | Free Full-Text | Ribosomal Protein uL11...
1111 – Öztunç Alüminyum
UL1111 PDF
Fusion Collection - utexdecor.com
UL1000 / UL1000 Fab Helium leak detectors | INF...
retrokolekcja.pl
Ul1611 - Niska cena na Allegro
UL41 - Flick Elektronik - 24h-Batterienshop
UL21118 – UL Cable
Ask Jan First ® ; electron tubes and more