Самодельные физические приборы
Gucci Bamboo Handbag Factory Production ft. FIO...
Прибор для получения галоидоалканов лабораторны...
Прибор для получения кислорода: 300 000 тг. - П...
Отзыв о Прибор для получения "живой" и "мертвой...
Презентация на тему: "Буянова АлександраАлексах...
Готовальня - это... Что такое Готовальня?
Лот столовых приборов 4 шт До 29 см. Клеймо Сер...
Специализированное оборудование
Прибор для получения кислорода - Справочник хим...
Pin on вино
Самогонный аппарат с колонного тарельчатого тип...
ГДЗ Химия 8 класс Еремин. Лабораторный опыт 11 ...
Прибор отмеривания жидкостей. Для спирта и кисл...
Приборы
Прибор для получения бидистиллята.
Прибор для измерения кислотности почвы — Greengo
Прибор для измерения отрицательных ионов воздух...
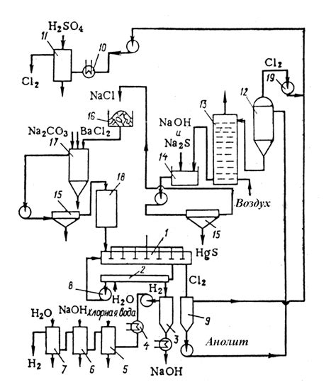
Технологическая схема получения хлора и щелочи ...
Прибор для определения окислов азота и азотной ...
Прибор для отгонки кремнефтористоводородной кис...
Съблечете се клас престават катализатор определ...
Навигационный прибор для учёта поправки на вете...
Электроактиваторы воды бытовые АП-1 - Акваприбор
Прибор для определения активности каталазы;
Электрохимическое получение хлора н щелочи - Сп...
Лабораторное оборудование
Сомодельный прибор для проверки катушки, и брон...
Прибори за хранене | Съдове, Сервизи, Прибори |...
Приборы для измерения кислотности почвы • Фиало...