Выбираем строительный фен. Видео
Как выбрать СТРОИТЕЛЬНЫЙ Фен 💨 АККУМУЛЯТОРНЫЙ и...
Строительный фен Энкор ПТЭ-2000/3 - купить по в...
Топ 5 лучшие строительные фены (термопистолеты)...
Лучшие строительные фены с регулировкой темпера...
Электрический строительный фен Энкор ПТЭ-2000/Д...
Недорогой профессиональный строительный фен ЭНК...
Фен строительный 2000 Вт INGCO HG200047 INDUSTR...
ТОП-7 Лучшие строительные фены в 2024 году - da...
Обзор 5 лучших строительных фенов – особенности...
Как выбрать строительный фен и для каких работ ...
Как выбрать строительный фен - YouTube
Фен строительный - Studia3D.com
Как правильно выбрать строительный фен
Фен строительный тепловой ПТЭ-2000/ДП кейс Энко...
Обзор строительного фена Энкор - YouTube
Отзывы на Строительные фены Zaxnouvi от реальны...
Строительный фен AEG HG600V - купить в Баку. Це...
Купить Строительный фен Workmaster ФТ-1800, 180...
Строительный фен - применение в быту
Строительный фен Интерскол - diacritsuisigacus’...
Материалы и инструмент
Строительный фен: какой лучше, характеристики и...
Строительные фены — купить по низкой цене на Ян...
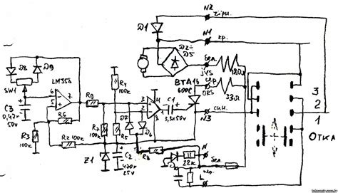
Схема фена строительного
Рейтинг 10 строительных фенов: Интерскол, Makit...
Строительный фен с регулировкой Интерскол ФЭ-20...
Отзыв о Строительный фен DEKO 2000 Вт | Просто ...
Строительный фен ФЭ-2000ЭК Ресанта (2000Вт)
Фен Энкор ПТЭ 2000/З - YouTube
Лучшие строительные фены 2025 года с подробным ...
Рейтинг строительных фенов: цены, характеристик...
Схема строительного фена - Схемы