Allen-Bradley 1492-PD3141-B Terminal Block New NFP
PCB PB6141 | RJS Electronics Ltd
P1610441 — Postimages
1641 | PDF
1641 – PasClassic Steel
C 64 Workshop / C= 8 Bit & Peripherals
P1641 - Pacific Aerials
LB1641 Datasheet(PDF) - Sanyo Semicon Device
PATRON PBP1641 Колодки тормозные – купить в Тро...
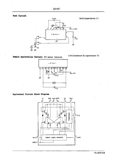
LB1641 datasheet(3/4 Pages) SANYO | Bidirection...
CITROEN DTC P1641 RESENJE / CITROEN P1641 SOLUT...
LB1641 SANYO Audio ICs - Jotrin Electronics
LT1641-1 LT1641-2 Datasheet and Product Info | ...
HP P41561-001 6.4TB SASMU SFF BC PM1645a SSD - ...
Installing the 1541 Parallel Port
PD-1461 Datasheet and Product Info | Analog Dev...
PB1651 GNR – LuxoBox
AIR 1641 B1B3 Datatsheet | PDF | Mimo | Antenna...
BP1601 Datasheet Meta Search
BP1601 PDF - Step-Up Constant Current LED Driver
1641 / RK60 / GL-1641 - Vint'Elec - Vintage ele...
1pcs/lot LB1641 1641 SIP 10 In Stock|LB1641 SIP...
P1641-B Alemite - Distributors and Price Compar...
PB4041 – WINMATE
LB1641 datasheet(2/4 Pages) SANYO | Bidirection...
%16 PAGE
P1641 Mercedes: Malfunction Indicator Lamp (MIL...
P1641 Fault Code Meaning | FaultCodes.co
TheSamba.com :: Gallery - 1641 ? Project
Power Products:PP1601B
[SOLVED] P1641 Code: Fix Your Cooling Fan Relay...
P1620111-01 – intheboatshed.net
Up1641p Up1641pqag P1641p ( 5-10 Pieces/lot ) F...