Сцепление. Автомобильное сцепление, устройство,...
Схема сцепления камаз: Устройство сцепления Кам...
Трансмиссия общее устройство. сцепление
Снятие и ремонт пневмоусилителя с гидравлически...
Замена сцепления мазда 3: особенности и порядок...
5557Я-1609000 Р/К на пневмоусилитель сцепления ...
Демпферное сцепление с диафрагменной пружиной. ...
Ремонт пневмо-усилителя сцепления Урал 5557 лес...
Переделка с механики на пневмоусилитель сцеплен...
ТЕХНИЧЕСКОЕ ОБСЛУЖИВАНИЕ СЦЕПЛЕНИЯ АВТОМОБИЛЕЙ ...
Привод сцепления Камаз
Гидропневматический привод сцепления
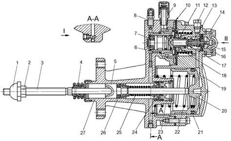
Пневмоусилитель привода сцепления
7.4. Рычаги выключения сцепления
Пгу урал (40 фото) - красивые картинки и HD фото
18.5. Техническое обслуживание трансмиссии
Сцепление автомобиля: виды, устройство и принци...
Педаль сцепления: Что такое сцепление: типы и о...
Установка пневмопривода выключения сцепления УР...
Привод сцепления, Сцепление легкового автомобиля
Пневмоусилитель Camozzi 100.77.010 - купить по ...
5557Я-1609005 Пневмоусилитель сцепления (цилинд...
Сцепление автомобиля и его устройство
Пневмоусилитель сцепления 5557Я-1609005А (в сбо...
Приводы управления сцеплением - Энциклопедия по...
I. Устройство сцепления
Лабораторно-практическая работа: Устройство и р...