Наружный микрометр 0-25 мм, 0,001 мм, трубчатый...
EM2271 прибор для измерения толщины покрытий с ...
Микрометр цифровой 5-30 мм для измерения внутре...
Цифровой толщиномер-микрометр
Шт. 1 шт. Professional Precise Digital толщином...
Как измерить толщину трубы микрометром - 98 фото
Как измерить толщину профлиста с помощью толщин...
Микрометры
Купить МИКРОМЕТР ДЛЯ ВНУТРЕННЕГО ИЗМЕРЕНИЯ 25-5...
Цифровой толщиномер, электронный толщиномер, из...
Микрометр для измерения резьбы со вставками 50-...
Микрометр – купить измерительные приборы в Укра...
Прибор для измерения толщины металла профнастил...
Виды микрометров
измерения микрометром
микрометр для измерения толщины металла 0-10 мм...
Микрометр зуботехнический для металла | Купить ...
0-25 мм Высокоточный электронный цифровой наруж...
Электронный микрометр 0-12,7 мм, цифровой измер...
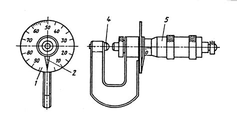
Для измерения толщины стенок труб применяют мик...
Объект-микрометр - проведение калибровки систем...
Микрометр для измерения толщины пленки — купить...
МИКРОН это МИКРОметр, измерение толщины в микро...
Микрометр - что такое, типы, устройство и приме...
Микрометр – Dent Trade
Как пользоваться микрометром — РИНКОМ
1.6.4. Микрометры