Блочный арбалет на пружинах PITBULL-II, купить ...
Компактный арбалет на пружинах PITBULL 3 в Москве
Делаем арбалет
Арбалеты на пружинах PITBULL только на заказ, к...
Арбалет
Блочный арбалет на пружинах PITBULL-I, купить а...
ЗАКАЗАТЬ
Пружинный арбалет своими руками-фото | Арбалет,...
Блочный арбалет на пружинах PITBULL 2 в Москве
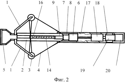
Пружинный арбалет своими руками чертежи - 96 фото
Блочный арбалет на пружинах PITBULL-I в Москве
Рисунки арбалетов PITBULL-TERMINATOR, прототип ...
Компактный арбалет на пружинах, купить арбалеты...
Чертеж для арбалета - 93 фото
Проекты арбалетов Pitbull в Москве. Блочные арб...
Как сделать арбалет из стеклопластиковой армату...
Пружинный арбалет своими руками чертежи - Фото ...
арбалет пружинный - YouTube
Как красиво повесить арбалет на стену - 83 фото
Мини арбалет на пружинах - YouTube
Пружинный арбалет /концепт/ - YouTube
АРБАЛЕТ - На что он способен? - YouTube