Я112А - Музей электронных раритетов
Схема подключения регулятора напряжения 58 фото...
РЕГУЛИРОВАНИЕ НАПРЯЖЕНИЯ - Автомобили
Схема электронного напряжения
Простой регулятор напряжения 220В | Регулятор н...
Регулятор мощности переменного напряжения 220в ...
Регулятор напряжения Я112 12в Я112А МАЗ: продаж...
Схема подключения шоколадки
Регулятор напряжения я120м12 схема подключения ...
Схема включения регулятора я112б
ЭЛЕКТРОННЫЕ РЕГУЛЯТОРЫ НАПРЯЖЕНИЯ
Я112а регулятор напряжения схема подключения
Я112а1 реле регулятор схема подключения
Я112в1 схема подключения 55 фото - wForm.ru
Регулятор напряжения и тока для зарядного устро...
Купить регулятор напряжения я112а ГАЗ, ЗИЛ, ПАЗ...
Регулятор напряжения Я120 24в Я120 ЯМЗ: продажа...
Я112а1
Реле регулятор я112б1 схема подключения - 91 фото
О ремонте регулятора напряжения Я112А - YouTube
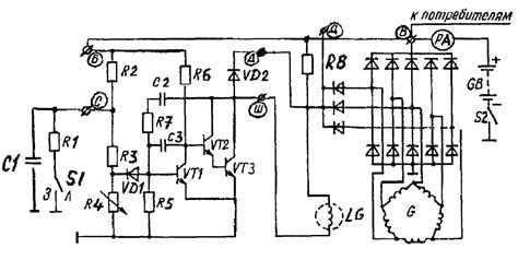
РадиоКот :: Делаем Я112А
Реле регулятор я 112 — купить по низкой цене на...
Схема Интегрального Регулятора Я112Б - Автомоби...
Я120М - Музей электронных раритетов
Реле Зарядки Ява 12в (Регулятор Напряжения) — К...
YAK-SS-112D | YUANZE RELAY | Automotive Relays ...
Регулятор 12В - 22 Мая 2012 - ЗАЗ сила