ТНВД КамАЗ Евро 2: устройство и регулировка
Тнвд камаз евро 2 устройство и регулировка бош:...
ТНВД Камаз: устройство, принцип работы и ремонт...
Тнвд камаз евро 2: устройство и регулировка . бош
Тнвд камаз (67 фото) - красивые картинки и HD фото
Тнвд рядный КамАЗ купить цена приемлимая
Тнвд камаз: устройство, принцип работы и ремонт
Методика сборка разборка регулировка тнвд автом...
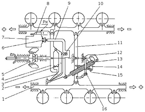
Принцип работы всережимного регулятора тнвд камаз
Купить ТНВД Bosch КамАЗ по цене 115 000₽ с НДС!
Регулятор давления топлива Bosch 0928400617 / А...
Регулятор ТНВД двигателя КамАЗ 740.30-260
Купить Регулятор давления топлива ТНВД ГАЗ/Кама...
Регулировка ТНВД Камаз-740 от компании ДизельСе...
Система питания топливом двигателей КАМАЗ Евро-...
Глава 7.8 Система питания топливом автомобиля К...
Устройство тнвд камаз
Как настроить тнвд КамАЗ 337 42, регулировка то...
Устройство и регулировка ТНВД КАМАЗ | ГРУЗОВИК.БИЗ
ТНВД Камаз двигатель 740.51 320 л.с Евро-2 меха...
ТНВД КАМАЗ Регулятор – смотреть онлайн все 3 ви...
ТНВД Камаз
Схемы тнвд насосов тнвд бош
Клапан регулировки давления тнвд камаз евро 4 c...
Создать мем "насос тнвд, тнвд камаз 33-10, насо...
Купить ТНВД КАМАЗ, цена 5320 грн — Prom.ua (ID#...
Купить Регулятор Давления Подачи Топлива Cummin...
Тнвд евро 2 камаз: устройство и регулировка . Б...
ТНВД КамАЗ Евро 2: устройство и регулировка . Бош