Ka3843a - Ka3843 A - Dip8 - Original | MercadoL...
KA3843A Datasheet(PDF) - Wing Shing Computer Co...
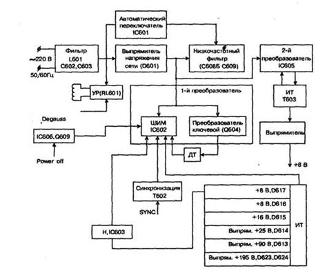
Источники питания на микросхемах КА3842, STR170...
Шим контроллер UC3843B UC3843AN KA3843A от Инте...
KA3843B_129977.PDF Datasheet Download --- IC-ON...
KA3843B UC3843 DIP8 IC nguồn, fixed frequency c...
KA3843 Datasheet(PDF) - Estek Electronics Co. Ltd
KA3843AC Datasheet(PDF) - Fairchild Semiconductor
10pcs KA3842 KA3842A UC / TL3842 charger / supp...
Хорошая схема иип на ка3842а – Микросхема UC384...
1PCS-New-and-Original-3843B-UC3843B-KA3843-SOP-...
KA3843AC_129975.PDF Datasheet Download --- IC-O...
KA3843_288694.PDF Datasheet Download --- IC-ON-...
KA3843 datasheet(3/7 Pages) ESTEK | fixed frequ...
UC3843 KA3843 KA3843B DIP – Inkocean Technologies
KA3843_(Gcore(扬州国芯))KA3843中文资料_价格_P...
Купить в Старом Осколе UC3844B, ШИМ-контроллер ...
KA3843A datasheet(9/9 Pages) WINGS | Current Mo...
KA3843 Datasheet PDF - Fairchild Semiconductor
Схема прибора ц4324
UC3843 PWM Controller IC Pinout, Features, Equi...
10PCS UC3843AN UC3843 DIP8 KA3843AN KA3843 POWE...
KA3843BD FAIRCHILD Linear Regulators - Veswin E...
KA3843B FREESCALE Linear Regulators - Veswin El...
Описание работы(принцип действия) ШИМ микросхем...
Ka3843 AC-DC SSR PWM IC Chip Integraged Circuit...
KA3843B Datasheet(PDF) - Fairchild Semiconductor
KA3843 datasheet - Fixed Frequency Current mode...
UC3843A (=KA3843A, шим контроллер для SMPS) SO-...