Студопедия — ОРУДИЙНЫЙ КОЛЛИМАТОР К-1
Коллиматор | это... Что такое Коллиматор?
Как и Где установить коллиматор на АКСУ? - YouTube
Размещение коллиматора на оружии - YouTube
Коллиматор: понятие, суть и его применение
Орудийная панорама ПГ-1 и орудийный коллиматор ...
Коллиматор: определение и основные характеристики
Как пристрелять коллиматор - YouTube
Как работает и зачем нужен коллиматорный прицел...
Как пристрелять коллиматор ? Легко! - YouTube
Коллиматорный прицел!!! Как выбрать? Как устрое...
Продаю в Мск коллиматор с креплением на горизон...
Коллиматорные прицелы – обзор, принцип работы, ...
Солнечный коллектор своими руками. Это несложно...
КОЛЛЕКТОР ДЛЯ КОМБИНИРОВАННОЙ СИСТЕМЫ ОТОПЛЕНИЯ...
Как самому собрать коллектор теплого пола, к ко...
Ремонт коллиматорного прицела. - YouTube
Лучший коллиматор в мире | Коллиматор из Китая ...
Как работают солнечные коллекторы. Солнечный ко...
Как правильно настроить эквалайзер в своем авто...
Воздушный солнечный коллектор своими руками - Y...
Продам коллиматор ПК-А
Как сделать прицел коллиматор из конструктора к...
Как выбрать КОЛЛИМАТОР для ОХОТЫ. Какой коллима...
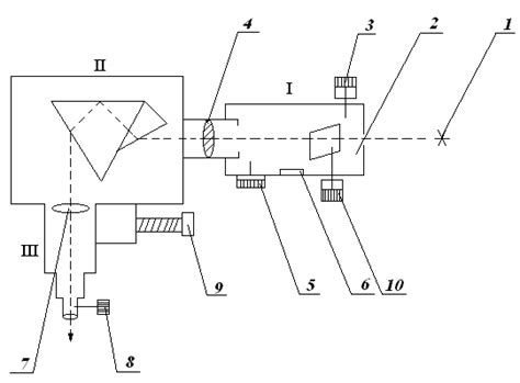
2 Описание установки
Коллиматор на 12 калибр Как выбрать? Что ? Как?...
Как поставить коллиматор на Grand Power - YouTube
Как установить коллиматор на ружьё - YouTube
Солнечный коллектор своими руками (начало) - Yo...
Какой коллиматор выбрать? - Теория и практика -...
Российский коллиматор Компакт - YouTube