СХЕМЫ наложения заземлений, переносных шунтирую...
Шунтирующая перемычка на газопроводе - Искра Газ
MC-2205CG, Перемычка, Шунтирующая перемычка, Ра...
Перемычки для круглых окон: Перемычки для кругл...
Перемычки
Шунтирующая перемычка | Аврора ООО
Как производится монтаж пнд труб прижимными фла...
Перечень основных функций, механизмов и способо...
Шунтирующая перемычка на фланцевом соединении д...
Гибкая перемычка заземления типа ПГС, купить оп...
Перемычки на окнах: Как ставить перемычки над о...
Правила установки перемычек над окнами. Минимал...
Монтаж металлических перемычек технология
Перемычки железобетонные для зданий с кирпичным...
Сборные железобетонные перемычки: преимущества,...
Перемычки брусковые - Управляющая компания холд...
Армирование перемычек над окнами - строительный...
Армирование перемычек: Армирование перемычки в ...
ОПИСАНИЕ И ОБЩИЙ ВИД ПРИЕМО-РАЗДАТОЧНОГО УСТРОЙ...
Заземление воздуховодов вентиляции: требования ...
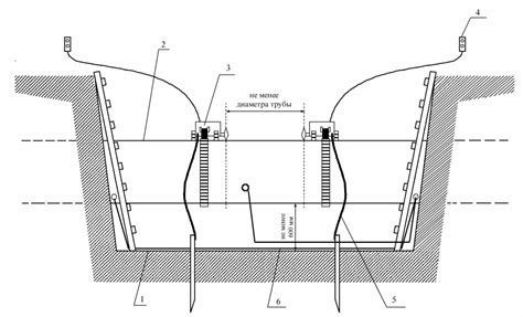
Вырезка дефектного участка с применением трубор...
Регламент по вырезке и врезке катушек соедините...
Перемычки проемов: устройство, виды
Устройство перемычек в стене из силикатного блока
Перемычки шунтирующие
Соединения для нефтепродуктов
Шунтирующая перемычка фланцевая S-BT-ER M8 купи...
MC-2228BG, Перемычка, Шунтирующая перемычка, Ра...